BMW screwing diy mechanics
Discussion
Just in the local Bulgarian news that BMW have patented new screws to stop home mechanics
https://www.24chasa.bg/biznes/article/21957228
must admit I like the look of them
https://www.24chasa.bg/biznes/article/21957228
must admit I like the look of them
gusko said:
Just in the local Bulgarian news that BMW have patented new screws to stop home mechanics
https://www.24chasa.bg/biznes/article/21957228
must admit I like the look of them
How does this comply with 'right to repair' legislation?https://www.24chasa.bg/biznes/article/21957228
must admit I like the look of them
They will always fail because they can't stop the knowledge leaking, the harder they squeeze the bigger the leak.
Not a nice attitude and a cheap move.
Still I am amazed they managed to patent that, can't imagine nobody has thought of that pattern. Probably got it accepted based on their logo which is probably protected too.
Not a nice attitude and a cheap move.
Still I am amazed they managed to patent that, can't imagine nobody has thought of that pattern. Probably got it accepted based on their logo which is probably protected too.
Inbox said:
They will always fail because they can't stop the knowledge leaking, the harder they squeeze the bigger the leak.
Not a nice attitude and a cheap move.
Still I am amazed they managed to patent that, can't imagine nobody has thought of that pattern. Probably got it accepted based on their logo which is probably protected too.
As wNot a nice attitude and a cheap move.
Still I am amazed they managed to patent that, can't imagine nobody has thought of that pattern. Probably got it accepted based on their logo which is probably protected too.
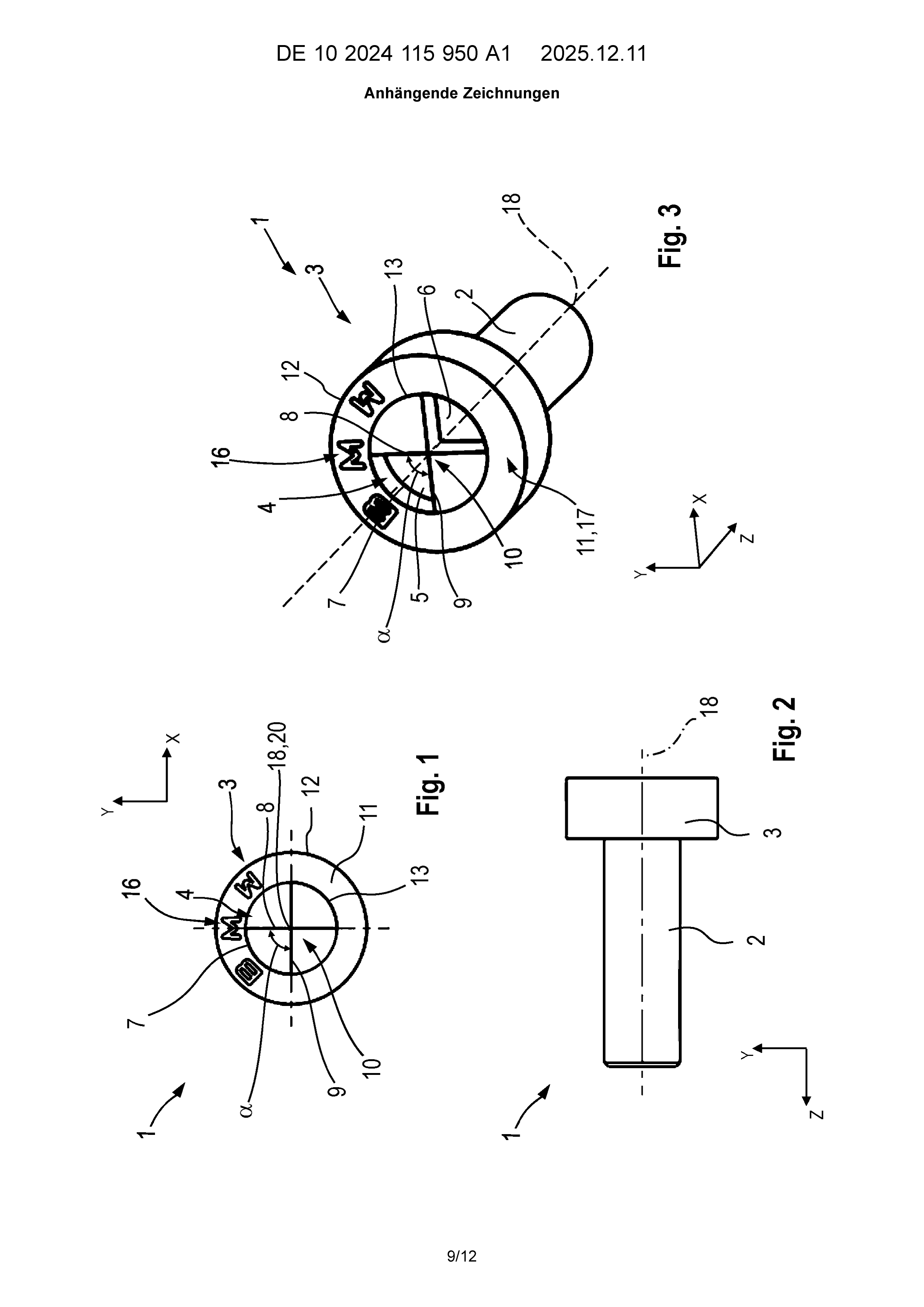
k an attitude to customers as the John Deere proprietary software debacle.Well, BMW have not yet patented this, it is only at the application stage and only in Germany. I don't think there is much risk of them getting a patent either, there are prior art screw heads which anticipate several of the claims.
What's more, the patent only concerns the screw (and a catch-all claim of a car including the screw). There is no claim to the tool so anyone will be able to manufacture it, import it, sell it or whatever.
It's not really such a bad idea, having pretty screws on the outside of parts facing the real world. Parts are clipped together in really convoluted ways or screwed together with the heads hidden by plastic covers which always break when you try to take them off. At least with these intentionally visible screws, they will be easily accessible. I would argue that it can make a car easier to repair.

What's more, the patent only concerns the screw (and a catch-all claim of a car including the screw). There is no claim to the tool so anyone will be able to manufacture it, import it, sell it or whatever.
It's not really such a bad idea, having pretty screws on the outside of parts facing the real world. Parts are clipped together in really convoluted ways or screwed together with the heads hidden by plastic covers which always break when you try to take them off. At least with these intentionally visible screws, they will be easily accessible. I would argue that it can make a car easier to repair.
Gassing Station | BMW General | Top of Page | What's New | My Stuff



